Фасадная система для крепления терракотовых плит
Фасадная система для крепления терракотовых плит Фасадная система для крепления терракотовых плит Фасадная система для крепления терракотовых плит Фасадная система для крепления терракотовых плит Фасадная система для крепления терракотовых плит Фасадная система для крепления терракотовых плит Фасадная система для крепления терракотовых плит Фасадная система для крепления терракотовых плит Фасадная система для крепления терракотовых плит Фасадная система для крепления терракотовых плит
Рассказать друзьям

Фасадная система для крепления терракотовых плит

Артикул: 18.38.010
Цена за шт:
2 900 руб.
на сумму: 2 900 руб.
Рассказать друзьям
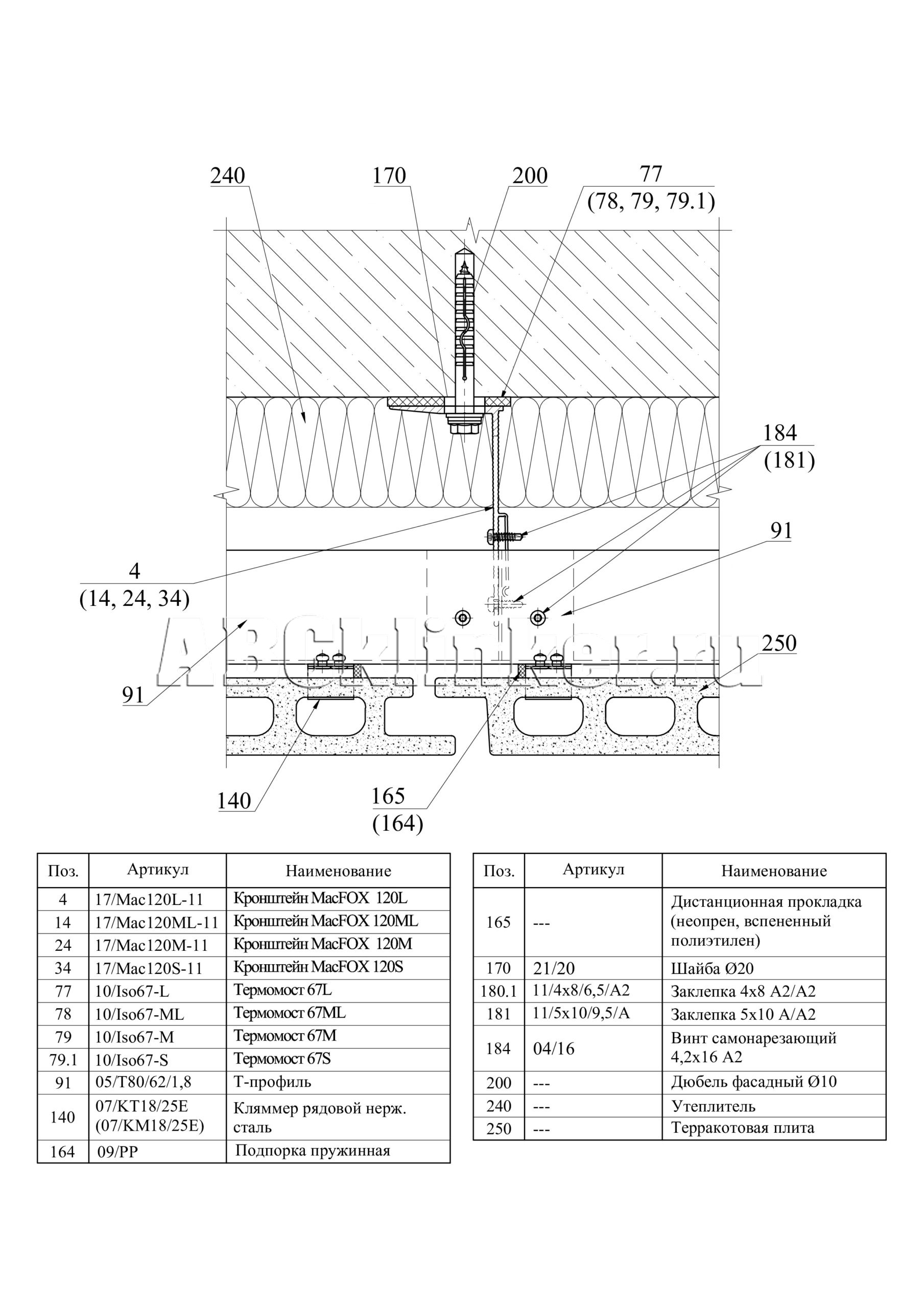
Материал системы:
Алюминиевый сплав 6060 (Т66), 6063 (Т6), 6063 (Т66), 6060 (Т6), по ГОСТ 22233-2018
Класс пожароопасности:

К0

Сейсмостойкость:

До 9 баллов

Материалы облицовки:

Терракотовая и керамическая полнотелая или пустотелая плита, вертикально расположенная
Максимально разрешенные размеры облицовки:

600х1000мм
Тип крепления облицовки:

Скрытый. На индивидуальных кляммерах из коррозионностойкой стали, для различных типов и габаритов плит
Тип крепления к строительному основанию:

К стене / в перекрытие

Крепление к потолкам:

Допускается

Крепление во внутренних помещениях:

Допускается


Параметры
Артикул:
18.38.010
Страна производства:
Россия
Технологические хар-ки
Способ крепления:
скрытый
Область применения плит:
Стены прямые и с уклоном / Фасад
Загрузка комментариев...

Наличие

Мой город
8-915-390-99-22
Пн-Пт  09:00-18:00
Коломна